Initial Hardware Setup
สารละลาย
IMPORTANT
- Do not install the machine where an object may fall on it. In addition, do not place any object on the top of the machine. It may fall into the machine when opening covers, resulting in malfunction.
- Paper Output Tray (A) automatically opens when printing starts. Do not place anything in front of the Paper Output Tray.
1.
Remove all orange tape and protective materials from the inside and outside of the machine.
REFERENCE
- The tape and protective materials may differ in shape and position from those shown here.
2.
Make sure all the following items are supplied.
Some accessories (1) are stored within the Paper Output Tray (A). Open the Paper Output Tray to remove them.
(1) Print Head
(2) Ink tanks (5: BK, M, C, PGBK, Y)
(3) Manuals
(4) Power cord
(5) Telephone line cable
(6) Setup CD-ROM (containing the drivers, applications and on-screen manuals)
(7) Matte Photo Paper MP-101 (for Automatic Print Head Alignment)
(8) Other documents
REFERENCE
- A USB cable is necessary to connect the machine with your computer (USB connection only).
REFERENCE
Do not connect the power cord yet.
Use FAX features?
Yes -> Go to 3.
No -> Go to 5.
3.
Connect one end of supplied telephone line cable (B) to the lower connector labeled "L" on the machine, and then connect the other end to the telephone jack on the wall (C).
IMPORTANT
- If you cannot send faxes after installing the machine, check the following:
(1) The telephone line cable is connected to connector labeled "L" on the machine.
(2) The dial tone at the telephone jack on the wall.
(3) The telephone line type. For details, refer to [ Confirming the Telephone Line Connection ].
- Users in Europe: If you prepare your own telephone line cable, be sure it is a 6-wire telephone line cable.
4. Only when connecting a telephone or an answering machine
Remove the Cap (D) (1), then connect a telephone or an answering machine with the telephone line cable (2).
IMPORTANT
- Do not use a telephone jack line duplexer to connect the machine and a telephone in parallel. The machine may not operate properly.
- Users in the UK: Use a B.T. adapter for connection as required.
5.
Insert the power cord into the connector on the left side at the back of the machine and into the wall outlet firmly.
IMPORTANT
- Do NOT connect the USB cable or Ethernet cable at this stage.
- Make sure that the Document Cover (E) is closed.
6.
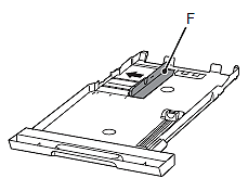
Press the ON button (F).
REFERENCE
- The machine may make some operating noises. This is normal operation.
- It takes about 5 seconds for the ON button to work after the power cord is plugged in.
7.
Use the
or
button (G) on the Operation Panel to select the language for the LCD (Liquid Crystal Display) (H), then press the OK button.
or
button (G) on the Operation Panel to select the language for the LCD (Liquid Crystal Display) (H), then press the OK button.IMPORTANT
- If you want to change the language shown on the LCD, press the Back button (I) to return to the Language selection screen.
8.
Select the country or region of use, then press the OK button.
REFERENCE
The Country select screen may not be displayed depending on the country or region of purchase.
9.
When this screen is displayed, press the OK button, then proceed to the next step.
IMPORTANT
When it is necessary to turn off the machine
Be sure to follow the procedure below.
(1) Press the ON button to turn off the machine.
(2) Make sure that all the lamps on the Operation Panel are not lit.
Operating noise may continue for up to 1 minute until the machine turns off.
IMPORTANT
- Before removing the power plug, make sure that all the lamps on the Operation Panel are not lit. Removing the power plug while any of the lamps on the Operation Panel is lit or flashing may cause drying and clogging of the Print Head, resulting in poor printing.
When using the fax features
- Removing the power plug deletes all faxes stored in memory. Before removing the power plug, send faxes, print them, or save them to USB flash drive as necessary.
REFERENCE
- The specification of the power cord differs for each country or region.
1.
(1) Make sure the Document Cover (A) is closed, then lift to open the Scanning Unit (Cover) (B).
(2) Fix it with the Scanning Unit Support (C).
IMPORTANT
When you lift the Scanning Unit (Cover), do not touch the buttons on the Operation Panel (D) or the LCD (E). May result in unintended operation.
2.
The Print Head Holder (F) moves to the installation position.
If the Print Head Holder does not move, make sure that the machine is turned on. For details, refer to (5) to (9) in [ Preparation ].
3.
Firmly lift the part (G) of the Print Head Lock Lever in the Print Head Holder until it stops.
The Print Head Lock Lever may feel heavy.
IMPORTANT
- Do not touch the inside of the Print Head Holder (H). The machine may not print properly if you
touch it.
4.
Remove the Print Head from the silver package.
IMPORTANT
- Handle the Print Head carefully. Do not drop or apply excessive pressure to it.
- Do not touch the inside (I) or metal parts (J) of the Print Head. The machine may not print properly if you touch them.
- There may be some transparent or light blue ink on the inside of the bag the Print Head comes in, or the inside of the protective cap - this has no effect on print quality. Be careful not to get ink on yourself when handling these items.
5.
Remove the orange protective cap.
6.
Tilt the Print Head forward and set it in place as shown.
IMPORTANT
- Do not knock the Print Head against the sides of the holder.
- Install in a well-lit environment.
7.
Hold the Print Head Lock Lever firmly and lower it completely.
IMPORTANT
- Once you have installed the Print Head, do not remove it unnecessarily.
1.
(1) Remove the orange tape completely.
(2) Remove the protective film completely.
2.
(1) Hold the ink tank with the orange protective cap (A) pointing up.
(2) Hold the ink tank being careful not to cover the area (B) including the L-shape air hole.
IMPORTANT
- Handle the ink tanks carefully. Do not drop or apply excessive pressure to them.
- Be sure to use the supplied ink tanks.
- If the orange tape remains on the L-shape air hole, ink may splash or the machine may not print properly.
- If you push the sides of the ink tank with the L-shape air hole blocked, ink may splash.
3.
Hold the ink tank by its sides and slowly twist the orange protective cap 90 degrees horizontally to remove it off.
Do not push the sides of the ink tank.
IMPORTANT
- Do not touch the inside (C) of the orange protective cap or the open ink port (D). The ink may stain your hands if you touch them.
4.
Tilt the ink tank, then insert it under the label and against the back end of the slot.
Make sure that the color of the label matches the ink tank.
IMPORTANT
- Install in a well-lit environment.
5.
Press the PUSH mark on the ink tank firmly until it clicks.
When the installation is completed properly, the Ink lamp lights red.
6.
Install all the other ink tanks in the same way according to the color order indicated on the label.
Make sure all the Ink lamps light red.
IMPORTANT
- Once you have installed the ink tanks, do not remove them unnecessarily.
- If the Print Head Holder moves to the right, close and reopen the Scanning Unit (Cover).
- Incomplete installation
7.
(1) Lift the Scanning Unit (Cover) (E) slightly.
(2) Fold the Scanning Unit Support (F) towards the left.
(3) Close the Scanning Unit (Cover) gently.
8.
Wait for about 4 minutes until the LCD changes as shown in the illustration, then proceed to the next step.
Do not press the OK button yet.
The machine may make some operating noises when preparing to print. This is normal operation.
IMPORTANT
If an error message is displayed on the LCD, make sure that the Print Head and the ink tanks are correctly installed.
1.
Extend the Paper Support (A).
(1) Open the cover.
(2) Lift it upwards.
(3) Tilt it back to set in place.
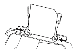
2.
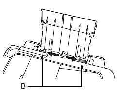
Move the Paper Guides (B) to both edges.
3.
Load a sheet of supplied specialty paper (Matte Photo Paper MP-101) in the Rear Tray (C).
Load paper in portrait orientation so that the cut corner (D) is at the top right.
IMPORTANT
- Be sure to use the supplied MP-101 for Print Head Alignment.
4.
Slide the left and right Paper Guides against both edges of the paper.
5.
Make sure the Paper Output Tray (E) is open.
If printing starts while the Paper Output Tray is closed, it will automatically open.
6.
Press the OK button.
Print Head Alignment takes about 5 minutes to complete.
7.
When the pattern is printed, remove the paper.
Print Head Alignment is now complete.
REFERENCE
- When an error message is displayed on the LCD, press the OK button to clear the error, then proceed to the next step.
- The pattern is printed in black and blue.
8.
Confirm the above message, then proceed to the next step.
With the machine, the paper source varies depending on the media type.
- Specialty paper including photo paper
Load paper in the Rear Tray (A).
- Plain paper
Load paper in the Cassette (B).
REFERENCE
For details on how to handle paper, refer to [ Loading Paper ].
This section describes how to load plain paper in the Cassette.
For details on how to load specialty paper in the Rear Tray, refer to 1 to 4 in [ Align the Print Head ].
- Loading specialty paper
- Load paper in portrait orientation with the printing side facing up.
- Make sure that the height of the paper stack does not exceed the line (C).
1.
Close the Paper Output Tray (D).
2.
Pull out the Cassette (E).
3.
Move the left Paper Guide (F) to the edge.
4.
Slide the front Paper Guide (G) to align with the size of the paper.
The front Paper Guide will click and stop when it aligns with the corresponding mark of paper size.
5.
Load plain paper.
Load paper with the printing side facing down.
6.
Align the paper to the right side of the Cassette (1), and slide the left Paper Guide completely against the left edge of the paper (2).
Make sure that the height of the paper stack does not exceed the line (H).
7.
Insert the Cassette slowly into the machine until it clicks into place.
8.
Confirm the message on the LCD, then press the OK button.
The copy standby screen is displayed.
REFERENCE
- The LCD will turn off if the machine is not operated for about 5 minutes. Pressing any button other than the ON button will restore the display.
Read this section only when using the fax features.
If not using the fax features, go to [ How to use the printer in wireless connection ] [ How to perform the setup using USB connection ] [ How to perform the wired LAN setup (Windows) ] [ How to perform the wired LAN setup (Macintosh) ].
Depending on your needs, select one of the following three modes for receiving faxes. You can change the receive mode after installation is complete.
IMPORTANT
A call ring pattern detective service (DRPD/Network Switch) may not be available depending on the country or region of use.
REFERENCE
Even when a telephone is connected to the machine, the telephone's ringtone may not sound for an incoming call depending on the telephone type or settings.
Intended Use
- Use a single telephone line for both voice and fax calls.
- Prioritize voice calls over fax reception.
- Connect an answering machine.
-> [ TEL priority mode ]
Voice calls cannot be received unless a telephone is connected.
- Use a dedicated fax line.
- Receive only faxes.
-> [ FAX only mode ]
- Use a Distinctive Ring Pattern Detection (DRPD) service.
-> [ DRPD/Network Switch ]
Responses to Calls in Each Mode
- TEL priority mode
-When a fax call arrives
While the telephone's ringtone sounds, pick up the handset.
When the fax reception starts, replace the handset. If an answering machine is connected, the fax is received automatically.
-When a voice call arrives
While the telephone's ringtone sounds, pick up the handset to answer the call.
- FAX only mode
- When a fax call arrives
The fax is received automatically.
- When a voice call arrives
The call cannot be answered.
- DRPD/Network Switch
- When a fax call arrives
The telephone’s ringtone sounds.
The fax is received automatically when the machine detects the fax ring pattern.
DRPD must be supported by your telephone service provider.
Please contact them for service details.
- When a voice call arrives
The telephone continues to ring.
Pick up the handset to answer the call.
1.
Press the FAX button (A).
Button layout on the Operation Panel changes automatically depending on use. When the display changes, check the button positions.
2.
Press the center FUNCTION button (B).
3.
Use the
or
button (C) to select a receive mode, then press the OK button.
or
button (C) to select a receive mode, then press the OK button.The fax standby screen returns.