ผลิตภัณฑ์

กล้องถ่ายภาพ เครื่องพิมพ์ สแกนเนอร์ กล้องวิดีโอ ผลิตภัณฑ์อื่นๆ

How to set the IP address using the ARP/PING command

ปัญหา


สาเหตุและแนวทางแก้ไข

NOTE
Clarifications of the operation and additional explanations for the procedure are indicated at the end of this page. Reading these notes is highly recommended.
1. Make sure that the computer and printer are connected via the network.
2. Make sure that the printer is ON.
3. Run Command Prompt or MS-DOS Prompt.
For Windows XP/Server 2003: From the [Start] menu, select [All Programs] -> [Accessories] -> [Command Prompt].
For Windows 2000: From the [Start] menu, select [Programs] -> [Accessories] -> [Command Prompt].
For Windows Me: From the [Start] menu, select [Programs] -> [Accessories] -> [MS-DOS Prompt].
For Windows 98: From the [Start] menu, select [Programs] -> [MS-DOS Prompt].
4. Enter the following command, then press the [ENTER] key on your keyboard.
arp -s <IP Address> <MAC Address>
IP Address:
Specify the IP address to assign to the printer. Specify the address with four numbers (from 0 to 255) separated with a period (.).
MAC Address:
Specify the MAC address of the printer. When entering the number, separate the number every two digits with a hyphen (-).
Input Example:
arp -s 192.168.0.215 00-00-85-05-70-31
5. Enter the following command, then press the [ENTER] key on your keyboard.
ping <the IP Address> -l 479
IP Address:
Specify the same IP address as the one used in Step 4.
Input Example:
ping 192.168.0.215 -l 479
The IP address is set on the network board.
NOTE
a. l of "-l" is the letter "L" of the alphabet.
b. The subnet mask and gateway address are set to [0.0.0.0].
6. Enter "exit", then press the [ENTER] key on your keyboard.
Exit Command Prompt or MS-DOS Prompt.

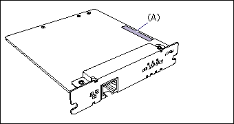
NOTE
The MAC address is indicated on the network board (A) as shown in the following figure.